Póster
Nº 078

IICVHAPp.gif (9537 bytes)

IndiceIndice

Hidrocefalia Asociada a Tumor Hemisférico Cerebral congénito diagnosticado Intrautero


Comentarios

Presentacion del Caso

 

Se trata de un recién nacido que ingresa en la Unidad de cuidados intensivos neonatales de nuestro hospital por prematuridad y tumoración intracraneal; es fruto de una 3ª gestación, de 31 semanas de evolución y peso adecuado, con antecedentes de aborto anterior. Las ecografías practicadas a las 12 y 19 semanas son congruentes. A las 31 semanas se detecta ecográficamente una tumoración irregular de 57x44 mm en hemisferio cerebral izquierdo que desplaza la línea media, heterogénea, con dilatación de asta posterior del ventrículo contralateral. A continuación inicia dinámica uterina, practicándose cesárea por sufrimiento fetal. Al ingreso, se baraja el diagnóstico de teratoma cerebral frente al de hematoma asociado a presunta plaquetopenia. A la exploración, destacan hipoactividad y macrocefalia con diástasis de suturas.

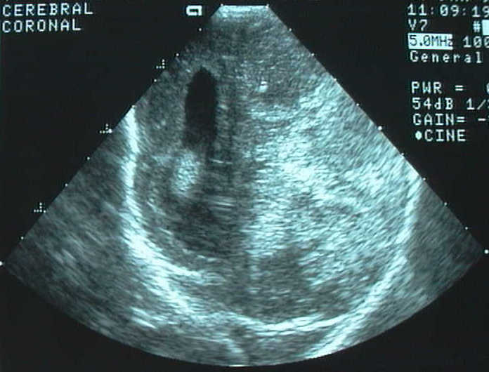
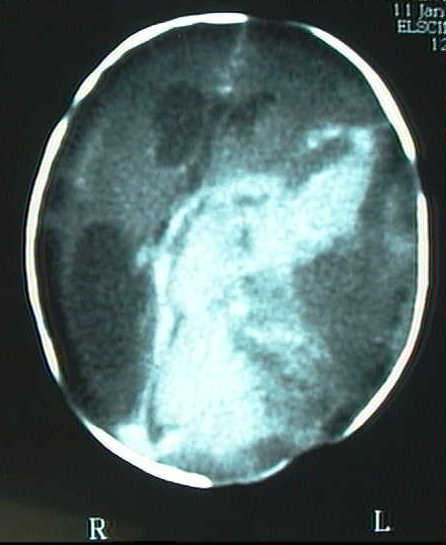
Fig 1a Fig 1b

Figura 1 : Imagen por ecografía (a) y por Tomografía Computada con contraste (b). Se observa una gran masa tumoral ocupando la mayor parte del hemisferio izquierdo e hidrocefalia derecha.

En controles ecográficos y por tomografia computada posteriores (fig. 1a-b) se constata necrosis tumoral, dilatación de vena cava superior y shunt derecha-izquierda a nivel del ductus arteriosus; clínicamente se detecta proptosis izquierda, hipotensión, reborde hepático, e hiperbilirrubinemia que precisa fototerapia. Se practican estudios por Resonancia Magnética para estudio de extensión e intentar caracterizar la masa (fig 2a-c).

Tras repetidas pausas respiratorias el paciente fallece a los 5 días de vida.

Fig 2.a. Fig 2.b. Fig 2.c.

Figura 2 (a,b,c): Imagen por Resonancia Magnética. En los cortes parasagital derecho (a) e izquierdo (b) se observa una gran hidrocefalia, herniación transtentorial, aplanamiento del cerebelo y distorsión del tronco y 4º ventrículo. En el corte coronal (c) se observa desplazamiento de la línea media por una gran masa tumoral con marcada heterogeneidad, e imágenes sólidas y quísticas, estas últimas sugestivas de necrosis extensa

 



Drs. Verónica Rona Hajduska, Elida Vázquez, Goya Enríquez, Javier de la Torre, y Joaquim Piqueras.
Copyright © 1998, Vall d'Hebron Hospitals, Barcelona. Reservados todos los derechos.