Arquitectura de sistema de
telemedicina con servidor WWW de acceso extendido
Victoria Ramos, Manuel Moreno, Oscar Moreno, Leopoldo Sánchez-Agudo,
Carlos Jiménez, y J. L. Monteagudo
Proyecto AIRMED
Instituto de Salud Carlos III
En esta comunicación se presenta el diseño de la arquitectura de un sistema de telemedicina GSM integrado con un sistema de información clínico incluyendo un servidor WWW con acceso móvil. Esta arquitectura ha sido desarrollada dentro del proyecto AIRMED para el registro a domicilio durante periodos prolongados de tiempo (típicamente una noche) de parámetros electrofisiológicos usados para screening diagnóstico de patologías de sueño mediante dispositivos de telemetría portátiles conectados vía GSM con el centro de información clínica donde se incluye un servidor WWW para Internet y con conectividad a redes inhalámbricas tipo GSM y DECT accesibles con terminales tipo comunicador o PDAs.
El proyecto AIRMED es el resultado de la colaboración entre el Instituto de Salud Carlos III y la Fundación Airtel para la investigación de las tecnologías de comunicaciones móviles avanzadas aplicadas a la salud.
Existen varias aplicaciones ya desarrolladas para Telemedicina y atención domiciliaria sin hilos. Entre ellas, podemos destacar el sistema aplicado en Redmond, Washington, [1] usando sistemas de comunicación que proporciona acceso remoto a datos de ECG de pacientes, permitiendo a los médicos estar informados, tomar decisiones y decidir tratamientos o consultas en cortos espacios de tiempo. Por medio del comunicador Nokia 9000i se accede a señales vitales, telemetría, monitorización y señales de ECG, junto con prestaciones de teléfono manos libres, acceso a Internet, envío y recepción de fax y e-mail a través de GSM.
También en Redmond, Washington [2], se han utilizado los PAD de Psion, que proporcionan acceso a los datos del ECG de pacientes en tratamiento, con técnicas de compresión y cifrado, mediante línea telefónica.
El sistema DECT para aplicación hospitalaria se ha utilizado en la SwissNet-Basisanschluss [5]. Está basado en el Gigaset 1054 isdn, de Siemens, que permite acceso móvil tanto digital como analógico a la red ISDN, a teléfono y fax, con acceso a la historia clínica, así como a datos sobre el tratamiento y la medicación del paciente.
Hasta donde conocemos, no se han desarrollado experiencias con sistemas que trabajen simultáneamente con tecnología GSM y DECT a fin de cubrir no sólo el área hospitalaria como en los ejemplos citados en [1], [2] y [5]. La posibilidad de uso de GSM/DECT dual facilita la continuidad de cobertura con el mismo terminal, lo que presenta numerosas ventajas para los usuarios.
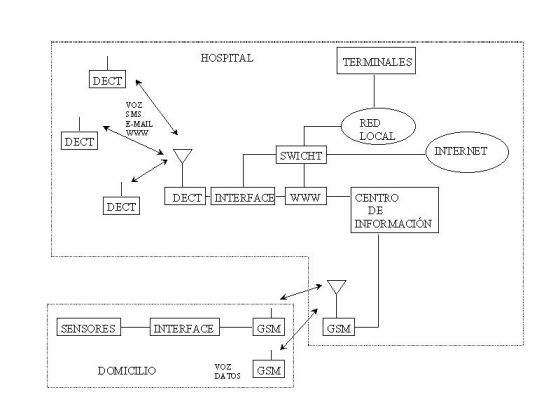
A continuación se presenta una figura en la que se representa la arquitectura propuesta. En el entorno hospitalario, el acceso al servidor de WWW se consigue a través de una red local con terminales fijos y mediante un sistema DECT que permite acceso móvil a este servidor, además de transmisión de voz, SMS y e-mail.
En el entorno domiciliario el acceso al servidor de WWW y al centro de información, se lleva a cabo por medio del sistema GSM que permite el envío de las señales procedentes de los sensores, además de la posibilidad de transmisión de voz y datos del paciente o del personal sanitario.

Figura 1: Acceso extendido a servidor WWW
El sistema se estructura en unidades funcionales e interfaces. Las primeras son entidades que tienen a su cargo la ejecución de las funciones del sistema. Las interfaces son las fronteras de separación entre las unidades. Las dos interfaces básicas son:
Vamos a distinguir dos aspectos claramente diferenciados dentro de la arquitectura presentada: una parte dedicada a la monitorización de sueño y otra al hospital sin hilos.
La arquitectura que se presenta, aunque ha sido diseñada para la aplicación específica de monitorización de sueño, es utilizable también para otro tipo de aplicaciones de telemedicina involucrando señales fisiológicas como ECG, EEG, EMG, EOG y parámetros como temperatura, presión ó impedancia biológica .
La Telemetría se lleva a cabo mediante sensores que permiten la realización de poligrafías de sueño y permite el registro y análisis de hasta diez canales de entrada. Los datos se almacenan en el propio equipo para, posteriormente, ser transferidos, revisados y analizados. Las señales registradas y analizadas son del tipo:
Los sensores que se aplican al paciente en estudio son: termistor para el registro naso-bucal; bandas neumáticas de esfuerzo; micrófono traqueal; sensor de actividad; sensor de posición corporal; medidor de presión CPAP/BiPAP; medidor de pulso-oximetría.
El sistema de adquisición de señales incorpora un PC portátil y enlace GSM con el sistema de información central. La fiabilidad y continuidad del enlace de comunicación es esencial para este tipo de aplicaciones así como la integridad de los datos y la seguridad en el sistema. Otros aspectos técnicos importantes están relacionados con la compresión de datos y los sistemas de criptografía. Los datos registrados procedentes de los sensores son procesados y almacenados en la interface de enlace entre éstos y el comunicador o PC portátil con GSM.
2. Arquitectura para "hospital sin hilos"
El sistema permite a cualquier profesional sanitario autorizado a ello acceder a la información del servidor WWW independientemente de su localización, bien a través de la red local fija del centro supervisor, a través de Internet, ó mediante terminales móviles dotados de la interfaz apropiada.
Su objetivo primordial es construir una interfaz común de acceso inalámbrico a redes de telecomunicaciones que permita el intercambio de voz y datos con gran fiabilidad, calidad y seguridad por medio de un sistema DECT, permitiendo acceso móvil tanto digital como analógico a la red ISDN, a teléfono y fax, con acceso a la historia clínica, así como a datos sobre el tratamiento y la medicación del paciente.
Vamos a distinguir la solución para el entorno domiciliario de la del entorno hospitalario.
1. Entorno domiciliario
Los datos registrados procedentes de los sensores aplicados al paciente con patologías de sueño son procesados y almacenados en la interface de enlace entre éstos y el comunicador o PC portátil con GSM y enviados desde el domicilio a la Unidad de Neumología del Hospital.
La utilización del enlace GSM (Global System for Mobile communications) proporciona unos requisitos, entre los que destacamos:
Para garantizar la seguridad, en el marco general de la capa física del sistema GSM se ha establecido una técnica de cifrado para las comunicaciones de voz y datos así como un complejo sistema de autentificación para el acceso al sistema por parte de los terminales.
Los servicios que ofrece el GSM se clasifican en servicios portadores y teleservicios:
El acceso móvil a la información del servidor WWW se lleva a cabo mediante el sistema DECT (Digital European Cordless Telecommunications).
Entre las características generales de este sistema,
podemos destacar las siguientes
Entre las características de la interfaz radio, destacamos su velocidad de bits bruta de 1,152 Mbit/s y unas velocidades de bits netas de 32 Kbit/s por intervalo para canales de tráfico y 6,4 Kbit/s por intervalo para canales de señalización y control. El sistema DECT pretende el establecimiento de comunicaciones de elevado grado de calidad, por lo que se penalizan las llamadas interrumpidas en fase de establecimiento o durante un traspaso. Se define el Grado de Servicio (GoS) para la evaluación de la capacidad del DECT en función de las llamadas bloqueadas, interrumpidas y totales.
El modelo de referencia DECT comprende tres dominios funcionales :
Entre las prestaciones del sistema DECT, distinguimos entre aplicaciones de voz y servicios de datos.
El acceso público es la aplicación denominada Telepunto. Los usuarios podrán realizar llamadas con sus terminales dentro de la zona de cobertura del sistema. Otra de las aplicaciones del DECT es la realización del bucle de abonado por radio.
Está prevista también la aplicación del DECT como sistema combinado con GSM empleando terminales binorma (GSM-DECT) y bibanda (900-1800) con detección y registro automáticos en una de las redes, de forma que un usuario pueda utilizar su terminal en el hospital en red DECT y en la calle en red GSM.
Se presenta el diseño de un sistema para registro desde el domicilio de parámetros electrofisiológicos para diagnóstico de patologías de sueño por medio de dispositivos de telemetría conectados con el centro de información clínica a través de GSM por medio de los interfaces adecuados.
La arquitectura se completa con un acceso inalámbrico a la información del servidor de WWW en el entorno hospitalario. La fiabilidad, la integridad de los datos así como la continuidad del enlace y la seguriddad en el sistema se garantiza por medio de técnicas de cifrado y autentificación.
Está prevista la aplicación del sistema combinado GSM/DECT por medio de un mismo terminal, con detección y registro automáticos en el hospital en red DECT y en la calle en red GSM.
[1] http://www.datacrit.com/pr/publicrelations/MobileView%20and%20Nokia%209000i.htm
[2] http://www.datacrit.com/pr/publicrelations/psion.htm
[3] http://www.globalmedic.com
[5] http://www.eis.ch/eg71096.html
[6] http://www.nemc.org/telemed/telemedhome.html
[7] http://www.ieee.org/comsoc/
[8] COMUNICACIONES MÓVILES, J.M. Hernando Rábanos. Editorial Ramón Areces, 1998